Apple patentirao stakleni iPhone
Mobitel čija je cijela vanjska površina prekrivena staklom i ekranom predmet je svježe objavljene patentne prijave koju je Apple predao Patentnom uredu
Dugogodišnji san Appleovih dizajnera, na čelu s Jonyjem Iveom, jest izraditi mobitel koji bi izgledao poput jednostavnog komada stakla. Na takvom idealnom uređaju ne bi bilo fizičkih tipki, otvora, prijelaza među različitim materijalima i sličnih "smetnji" elegantnom vanjskom izgledu. No, kako bi taj san ostvarili, potrebno je staklo učiniti dovoljno dobrim strukturalnim materijalom od kojeg se može izraditi cijelo kućište mobitela – a to je upravo ono što Apple pokušava zaštititi najnovijom patentnom prijavom.
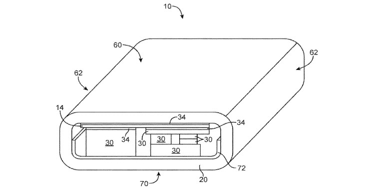
Američki Patentni ured objavio je Appleov patent koji su ovi predali u rujnu prošle godine, a tiče se "elektroničkih uređaja sa staklenim strukturalnim elementima". Slike i tekst patentne prijave opisuju stakleni mobitel. Njegovo kućište bilo bi izrađeno od savijenog stakla, unutar kojeg je smješten savitljivi zaslon, dok su i svi ostali elektronički dijelovi na neki od predloženih načina pričvršćeni za kućište.

Apple je osim koncepta kućišta prikazao i razne načine njegovog spajanja s drugim komponentama, pa bi u slučaju ovakvog uređaja staklo preuzelo ulogu strukturalnog elementa i potpuno zamijenilo metalne legure koje se sada koriste kao osnova kućišta.
Dakako, činjenica da Apple predaje patent za neku tehnologiju ne znači da će je nužno ugraditi u svoje uređaje. Ipak, zanimljivo je vidjeti u kojem smjeru razmišljaju i kako bi neki idealan dizajn iPhonea u budućnosti mogao izgledati.