Apple želi patentirati rješenje protiv habanja kabela
Gotovo svi smo se susreli sa situacijom u kojoj su nam se kabeli od slušalica ili punjača mobitela oštetili na pregibu, tik do plastičnog "jacka". Apple sada ima patent koji bi to mogao spriječiti
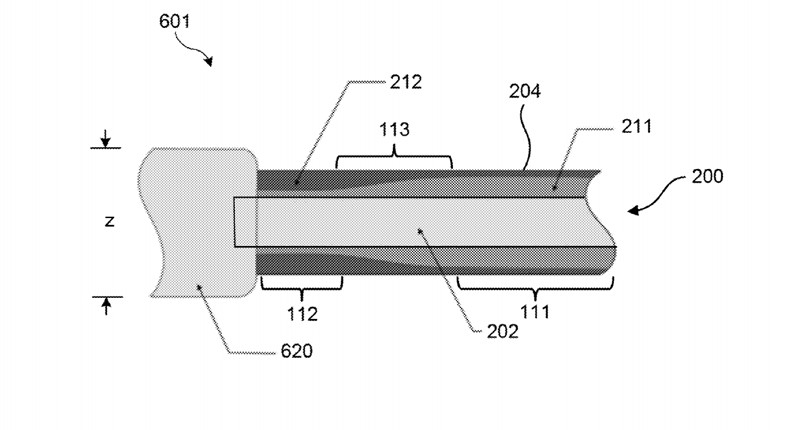
Još jedan u nizu pomalo bizarnih patenata koje su prijavili Appleovi inženjeri objavljen je ovoga tjedna. Riječ je o patentnoj prijavi predanoj u kolovozu prošle godine koja opisuje unutarnju konstrukciju kabela, i to takvu koja bi spriječila njegovo pretjerano savijanje i posljedično oštećivanje na spoju s priključnim "jackom". Patent je opisan u tek nekoliko rečenica:
Pojednostavljeno rečeno – na svojem će kraju ovakav patentirani kabel iznutra biti zadebljan kako bi se spriječilo njegovo habanje na najosjetljivijem dijelu. Stvaranjem postupno sve krućeg kabela prema njegovom kraju, umjesto oštrog prijelaza između fleksibilnog i krutog dijela, u Appleu planiraju povećati maksimalni polumjer pod kojim se kabel može savinuti na tom mjestu.

Dakako, ova ideja nije nova. Mnogi kabeli odavno imaju zadebljanja ili razne vanjske oplate pri kraju, na samom ulazu u "šteker", bilo da je riječ o naponskim, USB, audio ili drugim tipovima kabela. Ono što je kod Appleovog rješenja drugačije, jest što bi ojačanje kabela na problematičnom mjestu bilo izvedeno "nevidljivo", iznutra. U prijavi patenta kažu da je tomu tako jer zadebljanje kabela nije uvijek poželjno, pa njihovo rješenje dovodi do istog rezultata, no zadržavajući jedinstvenu debljinu kabela. Patent im za ovu ideju još uvijek nije odobren.